明細を確認する
配信した明細を閲覧または検索することができます。
制限
-
明細の配信や管理は PCA Hub 取引明細のシステム管理者のみが行うことができます。
-
明細が公開されると取引先に公開メールが配信されます。 サーバーの状況により、指定された日時よりも遅れてメールが配信される場合があります。
配信明細一覧を確認する
(1) PCA Hub 取引明細のシステム管理サイト「配信明細一覧」にアクセスします。
(2) 表示された明細一覧の中から、任意の明細をクリックするとプレビューが表示されます。
並び順を変更する
-
列名をクリックすると、並び順を変えることができます。
初期の並び順は、公開日の降順(新しい順)です。
-
指定した並び順の値が同じ明細があれば、指定した並び順の次にファイル名順で並び替わります。
例)公開日の降順(新しい順)で表示したとき、同じ公開日の明細がファイル名の降順に並び替えされています。
添付ファイルを確認する
帳票に添付ファイルがある場合、一覧に
が表示されます。
使い方は 受信者向けの 配信された添付ファイルを閲覧する をご確認ください。
既読状況を確認する
明細を受け取った受信者が、明細をプレビューしたかどうかを確認することができます。
(1) PCA Hub 取引明細のシステム管理サイト「配信明細一覧」にアクセスします。
(2) アップロード済みの明細一覧が表示されます。
(3) 既読の場合は細字で、未読の場合は太字で表示されます。
受信者が、明細をプレビューまたはダウンロードすることで既読になります。
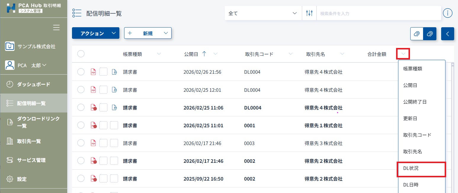
ダウンロード状況を確認する
明細を受け取った受信者が、明細をダウンロードしたかどうかを確認することができます。
(1) PCA Hub 取引明細のシステム管理サイト「配信明細一覧」にアクセスします。
(2) アップロード済みの明細一覧が表示されます。
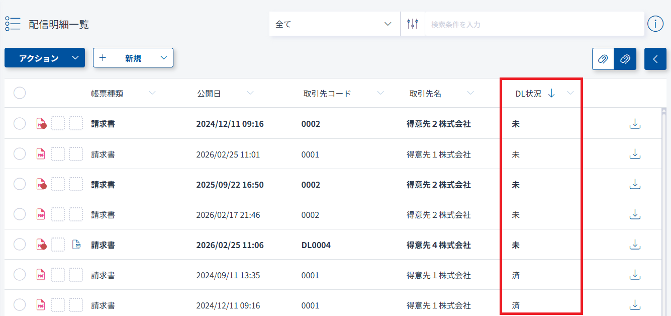
(3) 「DL状況」を選択し、ダウンロード状況で並び替えを行うと、ダウンロード状況を優先して確認することができます。
この例では、未ダウンロードの明細が上になっているため、未ダウンロードが把握しやすくなっています。
-
一覧またはプレビュー画面での詳細情報で、ダウンロードしたユーザーを確認することができます。
クライアントサイトでも同様に、受信者がダウンロードユーザーを確認することができます。
ポイント
-
「DL状況」列が表示されていない場合は、「DL状況」を表示します。
表示列を変更する をご確認ください。 -
「ダウンロード日時」には初回ダウンロードの日時が表示されます。
-
v2.5.0より前にダウンロードを行ったユーザーは表示されません。
v2.5.0より前のダウンロード、および正確なダウンロード履歴は監査ログをご確認ください。
承認された明細を確認する
承認機能が有効な場合、アップロード直後の明細は「配信明細一覧」に表示されません。システム管理サイト「承認依頼」に表示されます。
承認されていない明細は公開日が過ぎても公開されないため、対応が必要です。
明細を承認してから配信する方法は 明細を承認してから配信する をご確認ください。
検索する
配信方法で検索する
配信方法で明細を検索することができます。
(1) 「全て」と書かれている部分をクリックします。
(2) 検索したい配信方法を選択します。
検索画面から検索する
(1) 検索画面ボタン
をクリックします。
(2) 複数の条件をAND条件で組み合わせて検索することができます。
|
検索項目 |
内容 |
|---|---|
|
帳票種類 |
帳票を選択して検索することができます。 |
|
公開日 |
明細の公開日を指定して検索することができます。 |
|
既読状況 |
既読状況を選択して検索することができます。 |
|
DL状況 |
ダウンロード状況を選択して検索することができます。 |
|
その他検索条件 |
検索条件を手入力して検索することができます。 |
例)2025年9月に公開された未ダウンロードの請求書を検索します
検索条件を手入力して検索する
(1) PCA Hub 取引明細のシステム管理サイト「配信明細一覧」にアクセスします。
(2) 「検索条件を入力」欄に検索条件を入力します。
ポイント
-
検索の詳細な使い方は、「検索条件を入力」欄の横のボタンをクリックしてご確認ください。